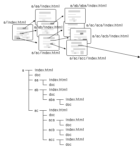
Directory Construction